Acasă Ciocane și unelte pentru prelucrarea metalului Ciocane pentru tinichigerie Mâner hickory bat grid
Mâner hickory bat grid
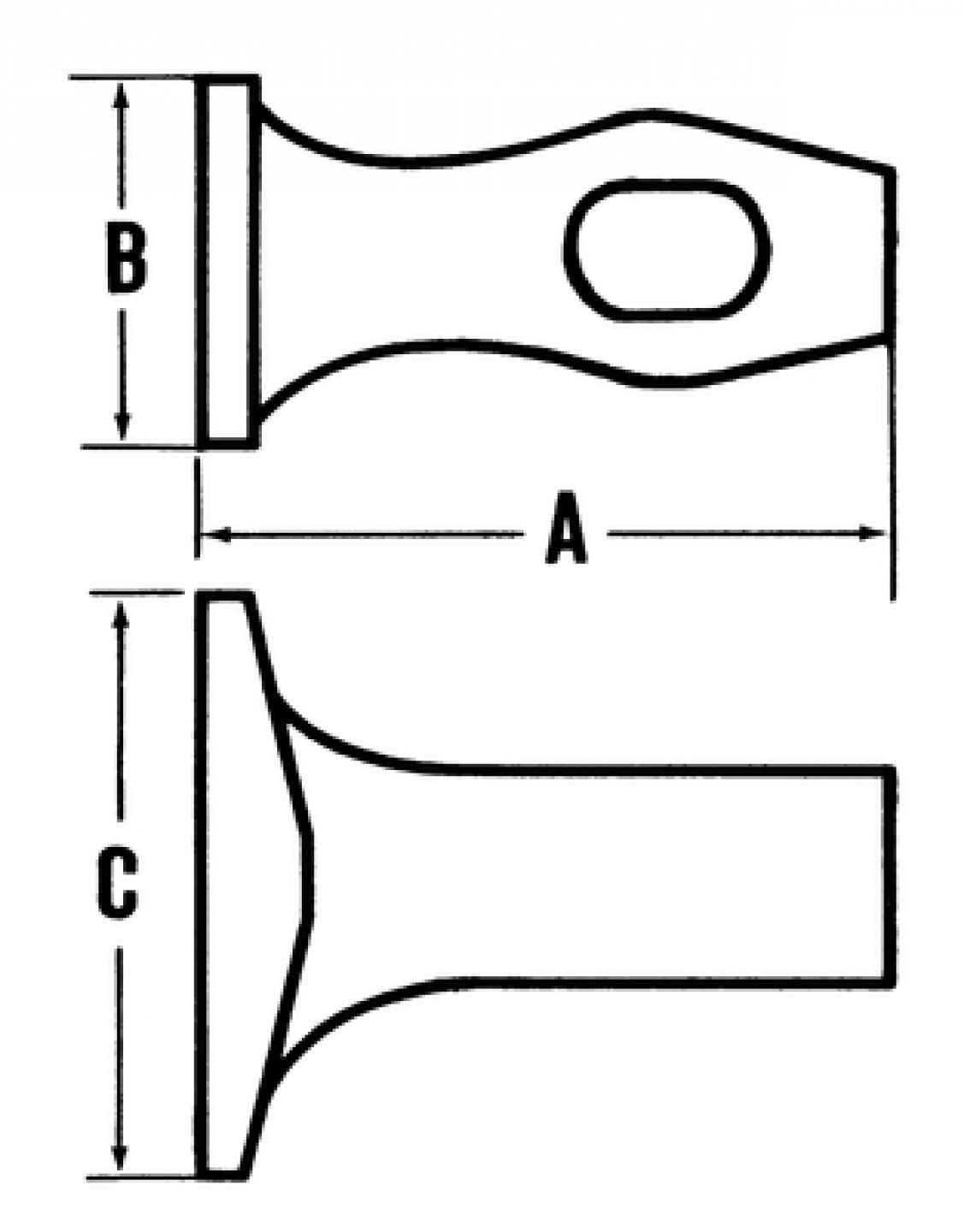
Cap plat pătrat. Cap din oțel cu conținut ridicat de carbon C45E. Cap forjat, cu tratament termic prin inducție a suprafețelor de lucru (54 HRC). Piese de lucru ...


Imagini HDDocument PDF
- Cap plat pătrat.
- Cap din oțel cu conținut ridicat de carbon C45E.
- Cap forjat, cu tratament termic prin inducție a suprafețelor de lucru (54 HRC).
- Piese de lucru și obraji fin lustruite.
- Vopsire cu pulbere epoxidica prin proces electrostatic, urmata de coacere.
- Inel roșu care semnează mânerul din lemn Mob ciocanelor.
- Model depus.
- Mâner din hickory, de origine nord-americană.
- Benzină cu calități mecanice recunoscute și adaptată mânerelor sculelor.
- Densitate foarte mare.
- Rezistenta mecanica superioara, in special la socuri.
- Flexibilitate ridicată, contribuind în special la bici și la absorbția vibrațiilor.
- Montarea prin presare efectuată de o mașină hidraulică, un senzor de forță măsoară puterea de montare prin presare individual pe fiecare produs, apoi un senzor de presiune controlează amplasarea rășinii.
- Performanța de tragere este mult mai mare decât standardele și este semnul distinctiv al utilajului MOB..
Mâner de hickory hickory postilion
Ciocan dintat pentru netezit
Ciocan simplu pentru netezit
Mâner hickory bat grid
Mâner hickory bat grid
Ciocan pentru nutuire-finisare, varf arcuit
Ciocan rotator de forta
Cutie tabă
Nicovala plata de mana
Nicovala americana concava
Pilă de lumină „detroit”
Nicovala de mana tip pana
Nicovala tip lingura, ingusta
Nicovala tip lingura, lata

